ترموکوپل اندرس هاوزر Endress Hauser Thermocouple TAF12 یکی از تجهیزات پیشرفته ابزار دقیق است که برای اندازهگیری دما در صنایع مختلف استفاده میشود.
این دستگاه در محیطهای صنعتی و آزمایشگاهی برای اندازهگیری دقیق دما بسیار حیاتی است تا از بهرهوری، امنیت و کیفیت محصول اطمینان حاصل شود.
ترموکوپل Endress Hauser TAF12 به گونهای طراحی شده که نیازهای دقیق دما را در شرایط مختلف صنعتی پاسخ دهد. این تجهیز از ویژگیهای منحصر به فردی برخوردار است که در ادامه به آنها خواهیم پرداخت.
ویژگیها و مزایای ترموکوپل Endress Hauser TAF12
ترموکوپل TAF12 قادر است دماهای بالا را تا 1700 درجه سانتیگراد اندازهگیری کند و دقت بسیار بالایی در اندازهگیری دما دارد.
این ویژگی باعث میشود که از آن به طور گستردهای در کنترل فرآیندهای صنعتی برای کنترل پروسه و افزایش بهرهوری استفاده شود.
مدلهای مختلف ترموکوپل TAF12: این ترموکوپل شامل مدلهای مختلفی است که هرکدام ویژگیهای خاص خود را دارند. این مدلها از نظر دقت و بازه دمایی متفاوت هستند و میتوانند نیازهای خاص صنایع مختلف را پوشش دهند.
ویژگیهای اساسی ترموکوپل Endress Hauser TAF12
- تحمل دمایی بالا
- دقت بسیار بالا در اندازهگیری دما
- ساختار محکم و مقاوم
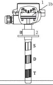
معماری تجهیزات ترموکوپل TAF12

- 1b: بلوک ترمینال (DIN B): فقط با درج عایق MgO
- 2: اتصالات فرآیندی موجود: فلنج استاپ مطابق DIN EN 50446
- سایر اتصالات:
- S: غلاف خارجی لوله محافظ سرامیکی (تک)
- D: لوله محافظ سرامیکی خارجی و میانی غلاف (دوتایی)
- T: لوله محافظ سرامیکی خارجی، میانی و داخلی غلاف (سهگانه)
قیمت ترموکوپل اندرس هاوزر
شرکت فرتاک ایمن ویژن یکی از تأمینکنندگان معتبر تجهیزات ابزار دقیق است. برای دریافت اطلاعات بیشتر و اطلاع از قیمت ترموکوپل اندرس هاوزر، با کارشناسان فروش ما تماس حاصل فرمایید:
تلفن: 88800705-88800719
سوالات متداول
1. ترموکوپل اندرس هاوزر TAF12 چه کاربردهایی دارد؟
ترموکوپل TAF12 برای اندازهگیری دما در صنایع مختلف از جمله صنایع نفت و گاز، پتروشیمی، فولاد، نیروگاهها و آزمایشگاههای صنعتی استفاده میشود.
2. حداکثر دمای قابل اندازهگیری توسط ترموکوپل TAF12 چقدر است؟
این ترموکوپل قادر به اندازهگیری دما تا 1700 درجه سانتیگراد است که آن را برای کاربردهای دمای بالا مناسب میکند.
3. آیا ترموکوپل TAF12 مدلهای مختلفی دارد؟
بله، این ترموکوپل در مدلهای مختلفی ارائه میشود که هر یک دارای دقت و محدوده دمایی خاص خود هستند. همچنین شامل ساختارهای تکلایه، دولایه و سهلایه محافظتی میشود.
4. چه ویژگیهایی باعث شده ترموکوپل TAF12 برای صنایع حساس مناسب باشد؟
این ترموکوپل دارای دقت بسیار بالا، مقاومت در برابر حرارت و ساختار محکم است که باعث میشود برای اندازهگیری دما در شرایط سخت صنعتی ایدهآل باشد.
5. تفاوت ترموکوپل TAF12 با سایر مدلهای ترموکوپل چیست؟
ترموکوپل TAF12 از فناوریهای پیشرفتهتری برای اندازهگیری دقیق و پایدار دما بهره میبرد و دارای اتصالات فرآیندی استاندارد مانند فلنج استاپ DIN EN 50446 است.
6. قیمت ترموکوپل اندرس هاوزر TAF12 چقدر است؟
قیمت این ترموکوپل بسته به مدل و ویژگیهای مورد نظر متفاوت است. برای اطلاع از قیمت دقیق، با کارشناسان شرکت فرتاک ایمن ویژن تماس بگیرید: 88800705-88800719
7. آیا ترموکوپل TAF12 دارای گارانتی است؟
بله، این محصول با گارانتی و خدمات پس از فروش عرضه میشود تا از کیفیت و عملکرد آن اطمینان حاصل شود.
8. چگونه میتوان ترموکوپل TAF12 را نصب کرد؟
نصب این ترموکوپل بسته به نوع اتصال و شرایط محیطی متغیر است. معمولاً توسط اتصالات فلنجی یا ترمینالهای استاندارد DIN B در محل مورد نظر نصب میشود.







فاطمی –
ممنون از توضیحاتتون
فرتاک ایمن –
خواهش می کنم