پوزیشنر ABB با مدل TZIDC V18345 یکی از تجهیزات پیشرفته در حوزه کنترل ولوها و اکچویتورها است که با طراحی مدرن و ویژگیهای کاربردی خود توانسته به یکی از گزینههای محبوب در صنعت تبدیل شود.
ویژگیهای برجسته TZIDC V18345
- ابعاد کوچک و طراحی یکپارچه: امکان نصب آسان در فضاهای محدود.
- طراحی مدولار: انعطافپذیری بالا و نسبت هزینه به عملکرد بسیار مناسب.
- ماژول I/P:
- انتقال سیگنالهای الکتریکی به ولو سهراهه (Valve) برای تنظیم دقیق.
- کنترل پروپورشنال اکچویتورها برای عملکرد بهینه.
حالتهای عملکردی پوزیشنر TZIDC V18345
فلو هوا با افزایش فشار یا کاهش فشار جهت تنظیم اکچویتور تغییر میکند و زمانی که به نقطه تنظیم برسد، شیر سه راهه در مرکز موقعیت بسته میشود، این پوزیشنر برای اکچویتور های single و double به صوزت fail safe و fail freeze موجود میباشد.
1-fail safe
پوزیشنر ABB با مدل TZIDC V18345 دارای حالت fail safe میباشد که اگر برق قطع شود، خروجی یک پوزیشنر شروع به تخلیه میکند و ولو به واسطه فنر اکچویتور ولو را در حالت safe قرار میدهد که میتواند باز یا بسته باشد، در حالت اکچویتور بدون فنر (double act) خروجی دوم اکت را pressurized میکند.
2-fail freeze
این نوع پوزیشنر دارای حالت fail freeze نیز میباشد، به صورتی که اگر برق قطع شود، خروجی یک و دو بسته میشود و ولو در حالت موجود در لحظه قطع برق ثابت میماند.
کالیبره پوزیشنر ABB با مدل TZIDC V18345
کالیبراسیون این پوزیشنر بهسادگی انجام میشود و با کمک پنل LCD و 4 دکمه کاربردی، امکان تنظیم محلی را فراهم میکند. همچنین، قابلیت اتصال و تنظیم با پروتکل HART نیز در این دستگاه وجود دارد.
در فیلم زیر با کالیبره این محصول آشنا می شوید:
امکانات و قابلیتهای ویژه TZIDC V18345
- پنل نمایشگر LCD:
- مشاهده و کنترل ساده عملکرد دستگاه.
- ورودیهای آنالوگ و دیجیتال:
- امکان کنترل نقطه تنظیم و فعالسازی عملکردهای حفاظتی.
- قابلیت افزودن ماژولهای مختلف:
- فیدبک آنالوگ و دیجیتال (Analog feedback) و (Digital feedback)
- ماژول شاتدان (shut down)
- سوییچهای مکانیکی (Mechanical position indicator) و پراکسیمیتی (proximity switch):
- بررسی موقعیت ولو با استفاده از مدلهای ایمن مانند Exia (intrinsically safe) یا Microswitch.
- این پوزیشنر علاوه بر LKS که نحوه ارتباط محلی میباشد امکان hart و اتصال و تنظیم با هارت (hart) را نیز دارد.
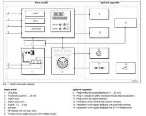
نحوه ارتباط Module ها را در عکس زیر میتوانید مشاهده کنید:
نصب و سازگاری:
این پوزیشنر قابلیت نصب بر روی اکچویتورهای خطی (Linear)، دورانی (Rotary) و ولوهای کنترل خاص را دارد. با تغییر براکت (Mounting Bracket) بهراحتی میتوان آن را بر روی تجهیزات مختلف نصب کرد.
همچنین بخوانید: پوزیشنر Abb مدل TZIDC-200
سوالات متداول
1. پوزیشنر ABB مدل TZIDC V18345 چه تفاوتی با مدلهای دیگر دارد؟
طراحی کوچک، ماژولار بودن و قابلیتهای متنوعی همچون عملکرد Fail Safe و Fail Freeze از ویژگیهای متمایز این مدل هستند.
2. آیا این پوزیشنر با پروتکلهای ارتباطی خاصی سازگار است؟
بله، این مدل از پروتکل HART و همچنین ارتباطات محلی LKS پشتیبانی میکند.
3. چگونه میتوان فیدبکهای آنالوگ یا دیجیتال را به پوزیشنر اضافه کرد؟
با نصب ماژولهای اضافی، امکان افزودن قابلیتهای فیدبک آنالوگ و دیجیتال به این دستگاه وجود دارد.
4. آیا TZIDC V18345 در شرایط محیطی خاص قابل استفاده است؟
بله، این پوزیشنر با استانداردهای ایمنی مانند Exia سازگار است و برای محیطهای صنعتی مختلف طراحی شده است.
5. چگونه میتوان این پوزیشنر را کالیبره کرد؟
کالیبراسیون با استفاده از نمایشگر LCD و دکمههای محلی یا از طریق پروتکل HART بهآسانی انجام میشود.
6. آیا TZIDC V18345 قابلیت نصب بر روی اکچویتورهای مختلف را دارد؟
بله، با تغییر براکت میتوان آن را روی انواع اکچویتورهای خطی و دورانی نصب کرد.
7. آیا TZIDC V18345 در برابر قطع برق مقاوم است؟
بله، بسته به نیاز، میتوانید از حالت Fail Safe یا Fail Freeze استفاده کنید.













نقد و بررسیها
هنوز بررسیای ثبت نشده است.